寻根问底 到底是谁真正发明了3D打印?
人类的制造能力经过三次飞跃,在6000年前发明热加工,进入了金属时代,200年前发明了冷加工,能够制造复杂的机械,30年前发明了增材制造(3D打印),才出现了自由设计”。3D打印是一类全新的制造技术,它是一种通过数字化增加材料来进行制造,对应传统的机械加工的减材制造和热加工工艺的等材制造。

热加工制造技术

减材机加工制造技术

增材制造技术
如果你在搜索引擎里搜索“3D打印之父”,大部分答案指向3D System的创始人,然而有这个称号的并非只有他一人。
那么到底是谁第一个发明了3D打印呢?谁才是真正的3D打印之父呢?

3D System创始人Charles Hull
由于美国两大3D打印机公司Stratasys和3D System的成功,关于这两个公司创始人的故事和相关信息也是最多,所以公认为3D打印技术诞生的标志性事件是1988年,美国3D System推出世界上第一台采用立体光刻(SLA)技术的商用快速成型机。
1984年8月,以Chuck Hull为发明人,UVP公司申请了世界上第一件SLA专利。

Charles Hull发明的SLA技术原理图

1988年Chuck Hull发明的第一台光固化3D打印机SLA-250
1986年3月11日,Chuck Hull获得专利授权,专利号为US4575330A。他在题为“Apparatus for Production of Three-Dimensional Objects by Stereolithography”的专利里面发明了术语“stereolithography”,简称SLA,也就是后来的立体光固化技术——即利用紫外线催化光敏树脂,层层堆叠然后成型。
到此为止,我们所聊的3D打印还是一个相对广义和笼统的概念,除了3D System创始人Charles Hull申请的SLA技术专利,至今这项技术仍然是主流3D打印技术之一。
另外一类技术熔融层积也就是FDM技术,于1989年由Stratasys创始人ScottCrump申请获得专利,该技术在3D打印技术中普及率最高,甚至一度成为3D打印的代名词。
3D打印技术的诞生并非一蹴而就,和其它革命性的技术一样,也经过相当长的孕育期,这个时间大概是从1892年-1988年,1892年J.E.Blanther申请了关于分层制造法制造地形图的美国专利(专利号473901),这一专利标志着分层制造的开端,其后近百年的时间内,关于分层制造的专利数增加到几百个,为3D打印技术的商业应用做了大量的准备。

3D打印之父Bill Master比尔.马斯特斯
然而在Charles Hull之前,还有一位发明家Bill Master比尔.马斯特斯,被誉为现代皮划艇之父,同时他才是真正的3D打印之父,在1984年7月2日获得了第一个3D打印专利US4665492A,专利名称是“计算机自动制造过程和系统”,这份文件在USPTO备案,是历史上第一项3D打印专利;这是属于Masters的三项专利中的第一项,为今天使用的3D打印系统奠定了基础。

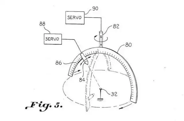
Bill Master比尔.马斯特斯的3D打印概念图
该专利摘要如下:
“ 本发明公开的是一种计算机自动制造过程和系统,包括由计算机辅助设计和接收坐标信息文件的机器控制器组成的计算机系统。利用计算机辅助设计编制三维坐标信息的数据文件。坐标信息被输入到控制伺服和极坐标系统的机器控制器,伺服电机进一步控制工作头和工作头的位置,以便注入材料颗粒以到达坐标系中的预定坐标点以形成固态物体。起始点固定在坐标系的原点,围绕起始点建立原型。这是一个用于在三维物体坐标西卡中定位材料的坐标系和装置,以便在多个坐标系和受控环境中建立物体“。

3D打印之父的网站与介绍
从专利的申请时间来看,Bill Master比尔.马斯特斯要比3D System创始人申请的SLA专利早那么一个月,后来比尔.马斯特斯成立一家公司来实现他的构想,从感知系统改名为弹道粒子制造(BPM),从南卡罗莱纳州的PalmettoseedCapital获得了风险投资,还有16名建模师为客户提供服务,这可能是最早的3D打印建模师了。

比尔·马斯特斯的第一个3D打印模型
目前来看,所有的3D打印都采用逐层制造和切片算法来实现分层,Bill Master比尔.马斯特斯在80年代研究他的新制造工艺。根据比尔的回忆,一天晚上,他想到了3D打印的想法,“在佐治亚州东北部的Chattooga河上露营。我躺在河岸上仰望星星,我意识到你可以拿一颗星星,让它成为你的种子点。你可以从任何方向添加星星,直到你得到你想要的形状”。

比尔·马斯特斯早期的3D打印测试机

比尔.马斯特斯的其它3D打印专利
不过好景不长,比尔.马斯特斯的公司在1997年倒闭,老板转行到皮划艇行业。
所以,从80年代开始,3D打印技术大部分都是由初创公司在进行推进,导致早期的技术应用走的并不顺利,直到最近几年才又被资本热炒,然而行业的发展仍处于初期阶段。
FDM、SLA两大技术成为普及和应用最广的两类增材制造技术,针对这两种技术的特殊材料成为应用的关键,无人能抵挡历史前进的车轮,比尔.马斯特斯的BPM技术最终成为历史。第一个吃螃蟹的人被拍死在沙滩上,略带悲情色彩。

FDM+MIM金属注塑工艺制造的金属零件
最近几年,金属3D打印由于能够加工金属零件,行业内也出现了几种不同的金属增材制造技术路线:激光烧结金属粉末、电子束烧结、FDM结合MIM金属注塑工艺、铺粉喷射技术结合金属注塑工艺等等。该领域中,有三大代表企业,分别是德国的EOS和通快,前者专注激光烧结金属粉末,后者是金属机加工领域的制造业巨头,还有GE先后收购的Concept Laser以及Arcram,目前在GE航空的金属零件的规模化应用方面成为典型。
然而在金属零件3D打印领域,后来者Desktop Metal和Markforged、惠普正在快速推进市场和应用开拓,有望在金属3D打印领域走出另一条不同于激光技术的技术路线。
本文要和大家分享的是,3D打印技术经过如此长时间的发展,在资本和科技的推动下,形成了一个越来越丰富的技术路线,目前看是7大类技术,每一大类技术下又细分出不同应用和特性的技术,对应不同的材料和客户需求,新技术爆发的速度之快,让我们目不暇接,所以3D打印无论如何发展到何时,将会是一场超级技术的革命,集结了过去人类科技发展史的所有积累,而且仍然在不断创新。
参考资料:谷歌专利、BillMaster3d.com
120
226
163
235
114
107
242
231
142
195 Copyright © 2012-202X
苏ICP备12014991号-8
联系邮箱:18951535724