具有可升降隔板的橱柜的制作方法

本实用新型涉及家具领域,特别涉及一种具有可升降隔板的橱柜。
背景技术:
现代人为了更高效地利用房间内有限的空间,通常会在墙面上设置储物柜,如我们最常见的在厨房落地柜上方设置储物柜,用来存放一些生活用品。进一步的,为了更高效地利用储物柜里有限的空间,储物柜通常会设置成多层结构,但是对于受身高限制的用户来说,储物柜设置在墙面上,本身就具有一定的高度,储物柜里的隔板就更高了。因此,对于受身高限制的用户来说,位置相对较高的储物柜隔板会给取放物品带来极大的不便。
技术实现要素:
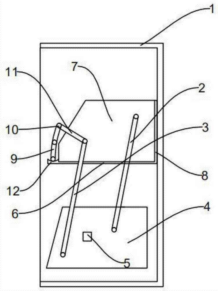
为解决上述技术问题,本实用新型公开了一种具有可升降隔板的橱柜,其主体结构包括:柜体、升降隔板组件、连动定位组件,其中,所述升降隔板组件通过连动定位组件设置在柜体内,所述连动定位组件设置于柜体侧壁上,所述连动定位组件包括第一连动杆、第二连动杆、盖板,所述第一连动杆和第二连动杆的两端分别与柜体侧壁和升降隔板组件转动连接,所述盖板设置于柜体侧壁上。
作为上述技术方案的进一步改进,所述升降隔板组件两侧各设有一连动定位组件。
作为上述技术方案的进一步改进,所述升降隔板组件包括升降隔板、两个侧板、挡板,所述两个侧板垂直设置在升降隔板两侧,所述挡板垂直设置在升降隔板后端。
作为上述技术方案的进一步改进,所述升降隔板组件上连接有拉手组件,所述拉手组件包括拉手、拉杆,所述拉杆两端通过连接杆与侧板转动连接,所述拉手套设在拉杆上。
作为上述技术方案的进一步改进,所述升降隔板的前端还设有一凹槽。
作为上述技术方案的进一步改进,所述盖板上设有一用于限定第一连动杆位置的限位块。
本实用新型的有益效果是:在取放隔板上物品的时候,可以通过拉手将隔板拉到橱柜外较低的位置,取放物品之后,再通过拉手将隔板推回原位即可。不仅实现了对橱柜空间的高效利用,同时,对于受身高限制取放物品不便的用户来说,也提供了极大的便利。
附图说明
为了更清楚地说明本实用新型实施例中的技术方案,下面将对实施例中所需要使用的附图作简单地介绍,显而易见地,下面描述中的附图仅仅是本实用新型的一些实施例,对于本领域普通技术人员来讲,在不付出创造性劳动性的前提下,还可以根据这些附图获得其他的附图。
图1为本实用新型一个实施例的侧面结构示意图;
图2为本实用新型一个实施例的升降隔板下拉后的状态示意图;
图3为本实用新型一个实施例的结构示意图。
图中标记:
1-柜体;2-第一连动杆;3-第二连动杆;4-盖板;5-限位块;6-升降隔板;7-侧板;8-挡板;9-拉手;10-拉杆;11-连接杆;12-凹槽。
具体实施方式
下面将结合本实用新型实施例中的附图,对本实用新型实施例中的技术方案进行清楚、完整地描述,显然,所描述的实施例仅仅是本实用新型一部分实施例,而不是全部的实施例。
如图1-3所示,本实施例的具有可升降隔板的橱柜,其主体结构包括:柜体1、升降隔板组件、连动定位组件,其中,升降隔板组件通过连动定位组件设置在柜体1内部,升降隔板组件两侧各设有一连动定位组件,连动定位组件设置于柜体1侧壁上。
连动定位组件包括第一连动杆2、第二连动杆3和盖板4,第一连动杆2和第二连动杆3分别与柜体1的侧壁和升降隔板组件转动连接,盖板4上设有一用于限定第一连动杆2位置的限位块5。
升降隔板组件包括升降隔板6、两个侧板7、挡板8,两个侧板7垂直设置于升降隔板6的两侧,挡板8垂直设置于升降隔板6的后端。
升降隔板组件上还设有拉手组件,拉手组件包括拉手9、拉杆10,拉杆10两端通过连接杆11与侧板7转动连接,拉手9套设在拉杆10的中间位置,升降隔板6的前端中间位置设有一凹槽12,用于承接拉手9的底边,使拉手9在闲置时不会因重力自然垂下。
本实用新型具体使用时,通过拉手9将升降隔板6拉低至一定的高度,第一连动杆2会卡在限位块5上,无法继续向下转动,从而将升降隔板6限定在一个最低的高度。使用结束后,同样通过拉手9将升降隔板6推回至柜体1内,同时,拉手9的底边可以卡扣在凹槽12内,使拉手9不会因重力作用自然垂下,拉杆10起到防止升降隔板6上的物品掉落的作用。
以上所述仅为本实用新型的较佳实施例而已,并不用以限制本实用新型,凡在本实用新型的精神和原则之内,所作的任何修改、等同替换、改进等,均应包含在本实用新型的保护范围之内。
215
105
191
112
129
116
233
189
201
146 Copyright © 2012-202X
苏ICP备12014991号-8
联系邮箱:18951535724